群发资讯网
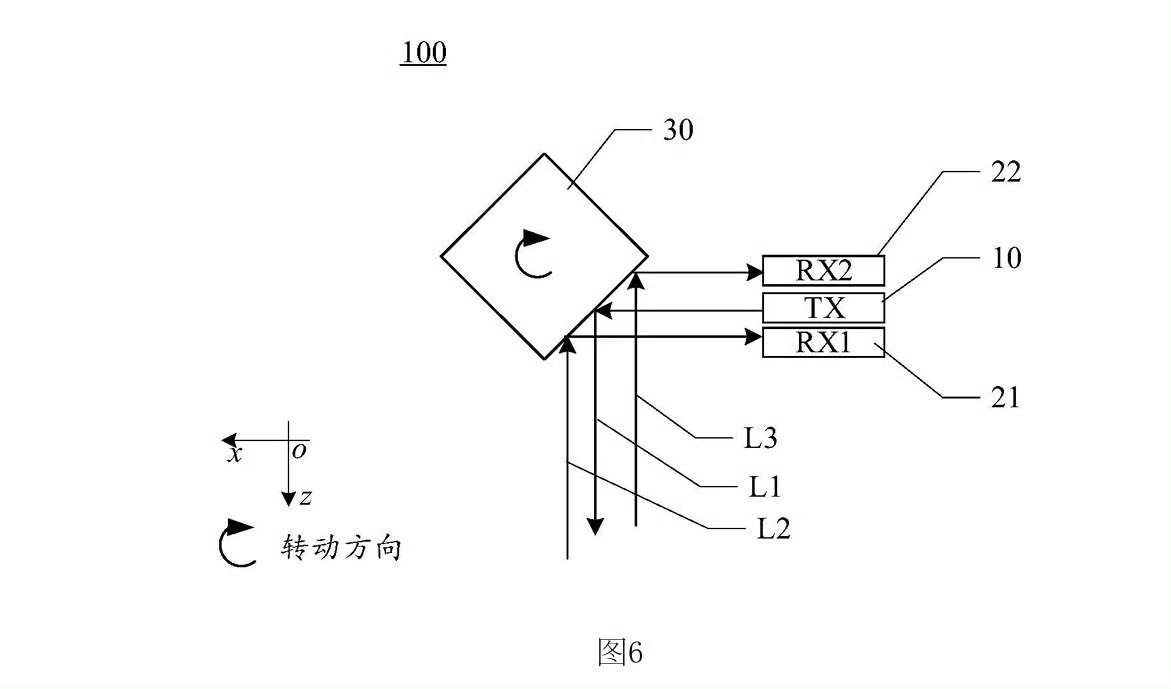
华为896线激光雷达的原理为单发射双接收也就是说某些“网友”所谓“新激光雷达是两
2026-03-06 18:02:44
怀蕾用汽车啊
汽车
华为896线激光雷达的原理为单发射双接收
也就是说某些“网友”所谓“新激光雷达是两个400线拼一起”的言论是彻头彻尾的造谣、抹黑
快想点新说辞吧
猜你喜欢
华为把激光雷达发展的线束再高,智驾也很难达到L3级别,大家都看了华为最新的发布会
2026-03-04
老刘爱说话
标签:
激光雷达
华为
发布会
孙少军:华为的最新896线激光雷达!这确实将激光雷达的线程又提高了不止一个量
2026-03-05
新兴星
标签:
激光雷达
华为
华为896线激光雷达,主打一个夯,各家抢着要,生怕赶不上趟。让我想起了20年前各
2026-03-05
俊健说汽车啊
标签:
雷达
华为
尊界
华为896线雷达技术成功激起了恨国党的斗志,不是技术不够好,单纯是由于能听懂便于
2026-03-05
月寺光
标签:
雷达
华为
激光雷达
互联网公司
跟一位在智库的老同学吃饭,他私下告诉我,看完华为乾崑新雷达的参数,后背有点发凉。
2026-03-06
嘴哥看科技
标签:
雷达
华为
智库
华为乾崑的896线到底牛在哪里?现在提到国内智能驾驶的辅助方案,华为的乾崑智驾代
2026-03-06
希希说汽车啊
标签:
华为
雷达
智能驾驶
华为这次直接把马斯克给干自闭了,纯视觉成了笑话,其实说实话,马斯克也知道,纯视觉
2026-03-06
老刘爱说话
标签:
伊隆·马斯克
华为
雷达
互联网公司
华为激光雷达概念全梳理核心定位:华为乾崑智驾核心感知硬件,自研+生态协同,覆盖1
2026-03-05
小散观商业
标签:
华为
激光雷达
华为麒麟芯片
极狐阿尔法s
热门分类
推荐
热榜
军事
NBA
体育
社会
明星八卦
娱乐
财经
科技
汽车
历史
国际
游戏
动漫
公益
搞笑
商业
互联网
数码
国际足球
房产
家居
时尚
科学探索
职场
育儿
股票
教育
影视
情感
热点
中国军情
武器
中国南海
中国足球
亚洲杯
科比
综合体育
CBA
投资
楼市
大咖秀
外汇
创业
风口
SUV
豪车
概念车
优惠
新能源
美国
欧洲
朝日韩
俄罗斯
孕期
街拍
恋爱攻略
婚姻
正能量