从折叠屏诞生之初,折叠屏的发展始终绕不开折痕痛点,而OPPO用5年五代产品的迭代,完成了从攻克折叠形态到破解折痕难题的技术跨越。

从行业层面看,折叠屏经历多个阶段的进化,从最开始的“能折叠”到“耐久与长期体验”再到“轻薄化”,时间来到现在,消费者对折叠屏有着更高的有要求!
这也是OPPO折叠屏发展进化的来时路,从OPPO Find N、N2独特的造型,OPPO Find N3的高端商务感,再到OPPOFind N5更轻薄折痕更浅!
接下来的OPPO Find N6,更是实现了“久用平整”的核心突破,将折痕彻底写进折叠屏的历史。五代产品始终围绕用户需求迭代,每一代的技术沉淀都为Find N6的突破埋下伏笔。
关于OPPO Find N66的资料目前已经曝光了不少,接下来就来聊聊它是如何改写了折叠屏折痕控制的行业规则的?据说甚至某国际大厂都在偷师OPPO折叠的技术方案,这含金量不一般吧?

据OPPO Find系列负责人周意保最新微博信息:“出厂浅不是真的浅,久用浅才是真的浅”,精准戳中行业痛点。

周意保在最新视频中还展示使用一个月的OPPO Find N6,据其透露,用了一个月却几乎看不见的折痕,折叠屏完整体应该就是这样了吧?

此前据博主“数码闲聊站”爆料称,OPPO Find N6斩获德国莱茵TÜV认证,成为官方认定的「全球最平整折叠屏手机」,这也是OPPO背后首发的「无痕钛合金铰链+自修复记忆玻璃」两项行业黑科技!

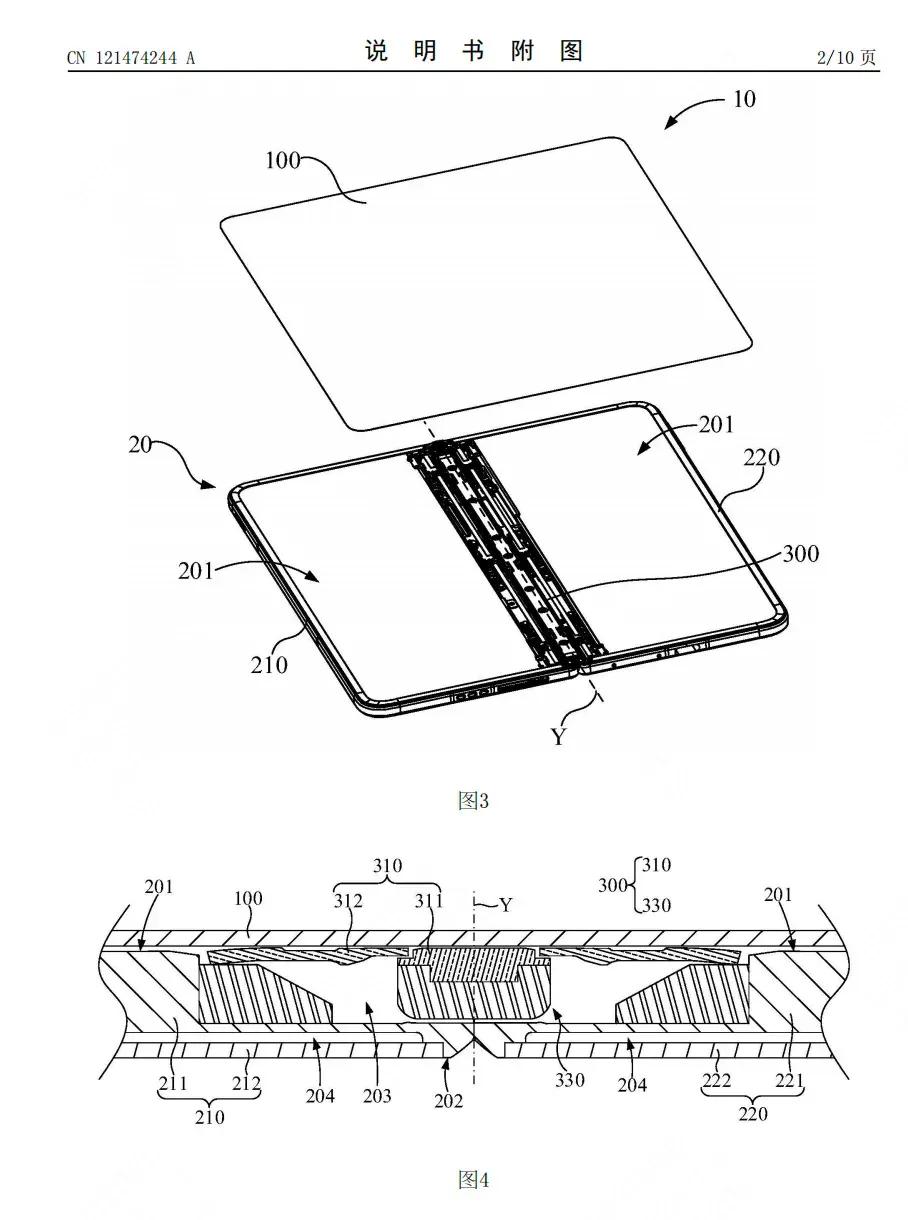
依托于OPPO自研技术支持,OPPO Find N6把这行业“最后一公里”彻底铺平了。从国家知识产权局公开的拟椎结构铰链专利(公开号: CN121474244A )了解到,这份专利彻底打破了传统折叠屏铰链的局限性,最终实现屏幕平整如镜面的表现!

除了核心的折痕突破,Find N6的综合配置同样拉满:首次配备的行业首发AI手写笔,或能实现实时翻译、会议纪要生成等“旦用难回”的生产力体验!


不过在行业内存大涨的风潮下,当下存储芯片大涨30%,行业迎来涨价潮,手机行业也难以避开影响,Find N6预计也要受成本影响定价或小幅上调,但对比苹果折叠2W售价以及技术滞后,想想其实Find N6涨价也能接受!毕竟全球领先的久用平整技术、拉满的配置,Find N6无疑是近两年折叠屏市场的“真香之选”。