3月5日公开的一项新专利显示,特斯拉正在为下一代车型开发一种【一体式复合材料座椅骨架】。
这项技术很可能会率先应用在即将发布的 特斯拉全新 Roadster 超跑上,这是一台售价约 20 万美元、加速目标进入2秒以内的纯电超跑。
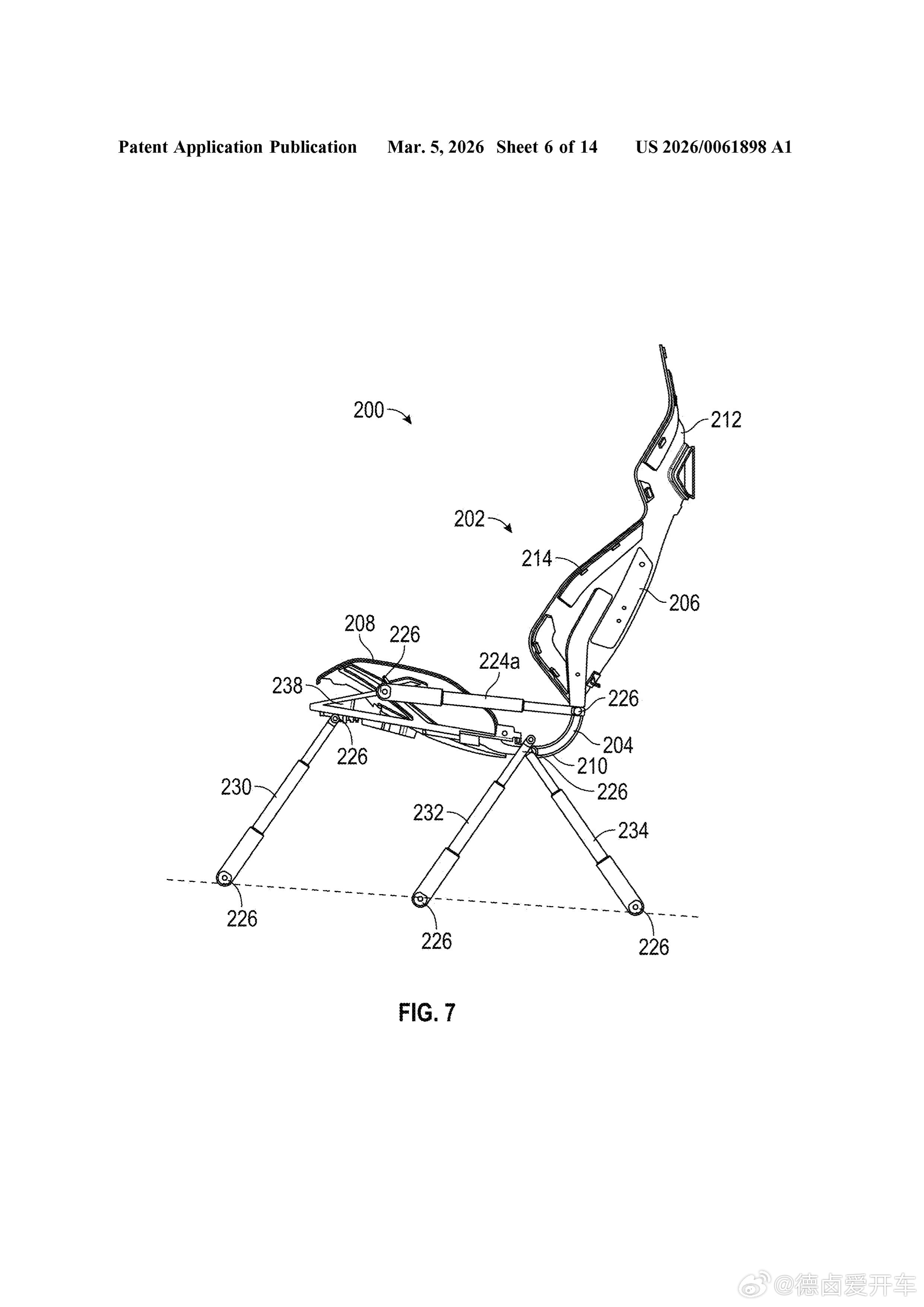
专利的核心思路非常「特斯拉」,就是把复杂结构做成一个整体件。
传统汽车座椅内部通常由金属框架、靠背结构、头枕支撑、侧翼、调角机构以及大量支架、螺栓和铆钉组成,一个完整座椅往往涉及十多个主要部件组以及大量子零件。
结构复杂不仅增加重量和成本,每一个连接点也都是潜在的异响、松动和疲劳源。
特斯拉提出的方案,是用连续的一体式复合材料骨架取代这些零部件拼装结构。
专利中描述,座椅底座、靠背、头枕、侧翼以及连接铰链都由同一块连续结构构成,通过多层复合材料热压成型,再在外部进行聚合物包覆。
可选材料包括玻纤-尼龙、碳纤维-尼龙以及凯夫拉-尼龙等复合材料。
这种设计的直接效果就是大幅减少零件数量和装配工序。
侧翼支撑也被直接做进整体骨架中,不再需要额外支架或连接件。
整体结构没有接缝和连接点,既提升刚性,也减少潜在噪声和疲劳问题。
这种思路其实和特斯拉在车身制造上采用的「超级压铸」逻辑非常相似,就是用一个结构件替代几十个零件。
但一体式结构也带来新的工程挑战,座椅不同区域需要不同的力学特性。
比如靠背需要足够刚性来承托身体,坐垫需要承受重量,而连接位置又必须允许一定的弯曲以实现靠背调节。
特斯拉的解决方案是在同一块复合材料结构中设计不同刚度区域。
通过改变复合材料的铺层数量、厚度和材料类型,可以在同一骨架中形成多个不同刚度的结构区,从而在特定位置形成「材料定义的旋转轴」。
这个位置与人体脊柱的自然旋转中心相匹配,使座椅在调节时更加符合人体工程学。
专利中还提到,可以在关键位置加入金属或复合材料强化连接件,以进一步稳定这个旋转轴的位置。
某种意义上,这类似于塑料瓶盖的活铰链,但材料和结构精度达到了汽车级甚至接近航空级的水平。
另一个很有意思的设计,是多执行器协同控制的座椅调节系统。
传统汽车座椅通常有独立的滑轨、电机和调角机构,每个动作对应一个机械系统。
而特斯拉的方案是用四组线性执行器组合控制,通过不同的伸缩组合实现前后移动、升降、倾角和靠背角度等六种自由度调节。
换句话说,同一套执行器系统通过不同组合实现所有动作。
这样不仅减少机械结构,也让座椅位置可以由软件精确控制。
理论上,车辆可以存储不同驾驶模式的座椅姿态,比如赛道模式和日常驾驶模式一键切换。
从战略层面看,这项专利其实延续了特斯拉的制造路线,持续压缩零件数量,把复杂系统变成少数大结构件。过去是车身压铸,现在开始延伸到座椅这样的内饰结构。
更重要的一点是供应链变化。传统车企通常把座椅完全外包给一级供应商,例如 Adient、Lear Corporation 或 Magna International。
而这项专利描述的复合材料骨架可以在工厂内部直接热成型和包覆制造,这意味着座椅核心结构有可能被纳入整车厂自研制造体系。
此外,一体式结构还为安全系统提供新的设计空间。由于侧翼和骨架是一体成型,工程师可以精确控制安全气囊展开路径,让气囊沿着预设轨迹展开,从而优化碰撞保护效果。
短期来看,这种座椅最可能首先出现在新一代Roadster这样的高性能车型上,碳纤维或凯夫拉复合材料正好符合超跑对重量和刚性的极致要求。
但从专利布局来看,这套架构并不局限于一款车,也完全可能扩展到未来更多车型。



