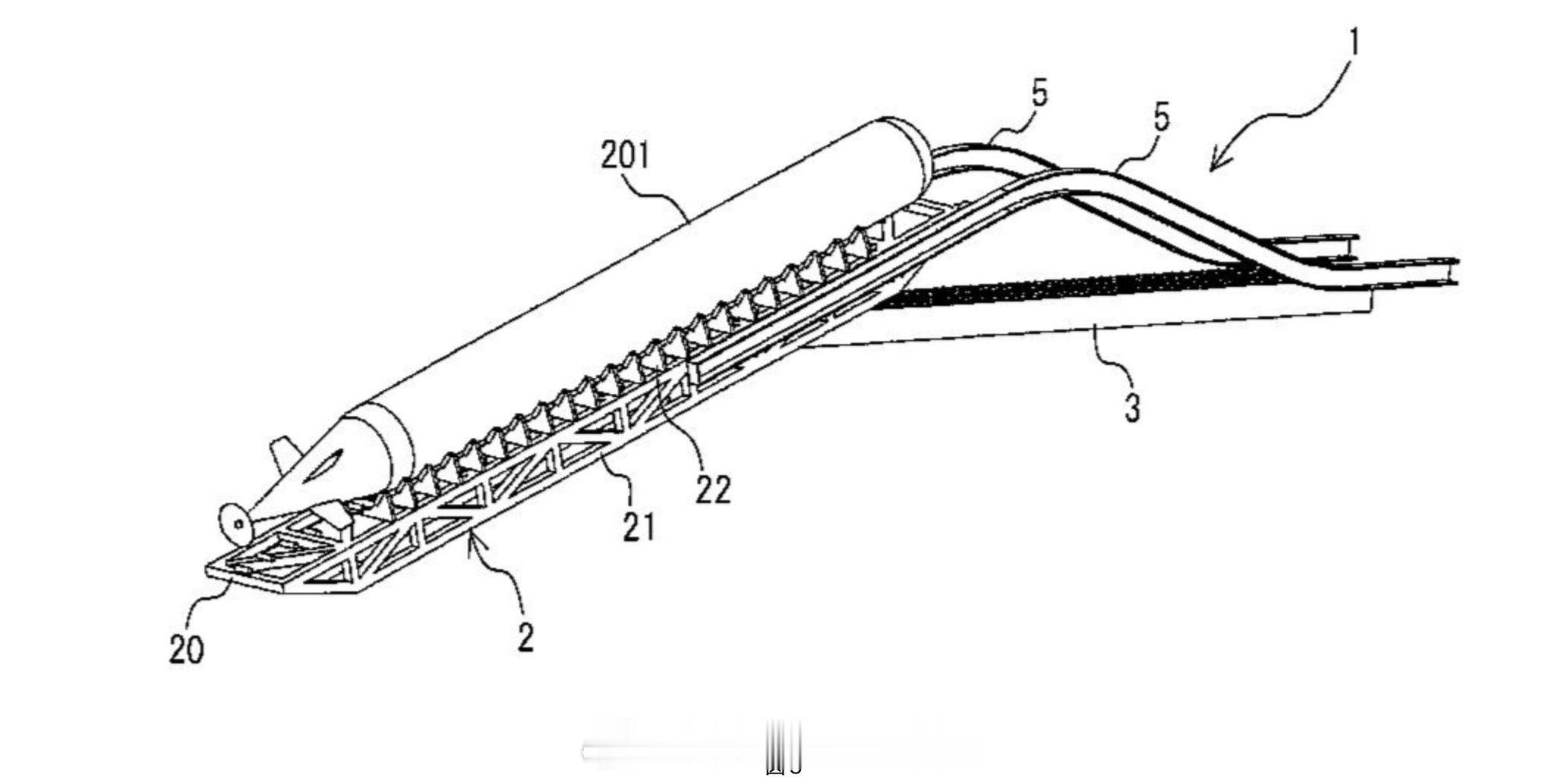
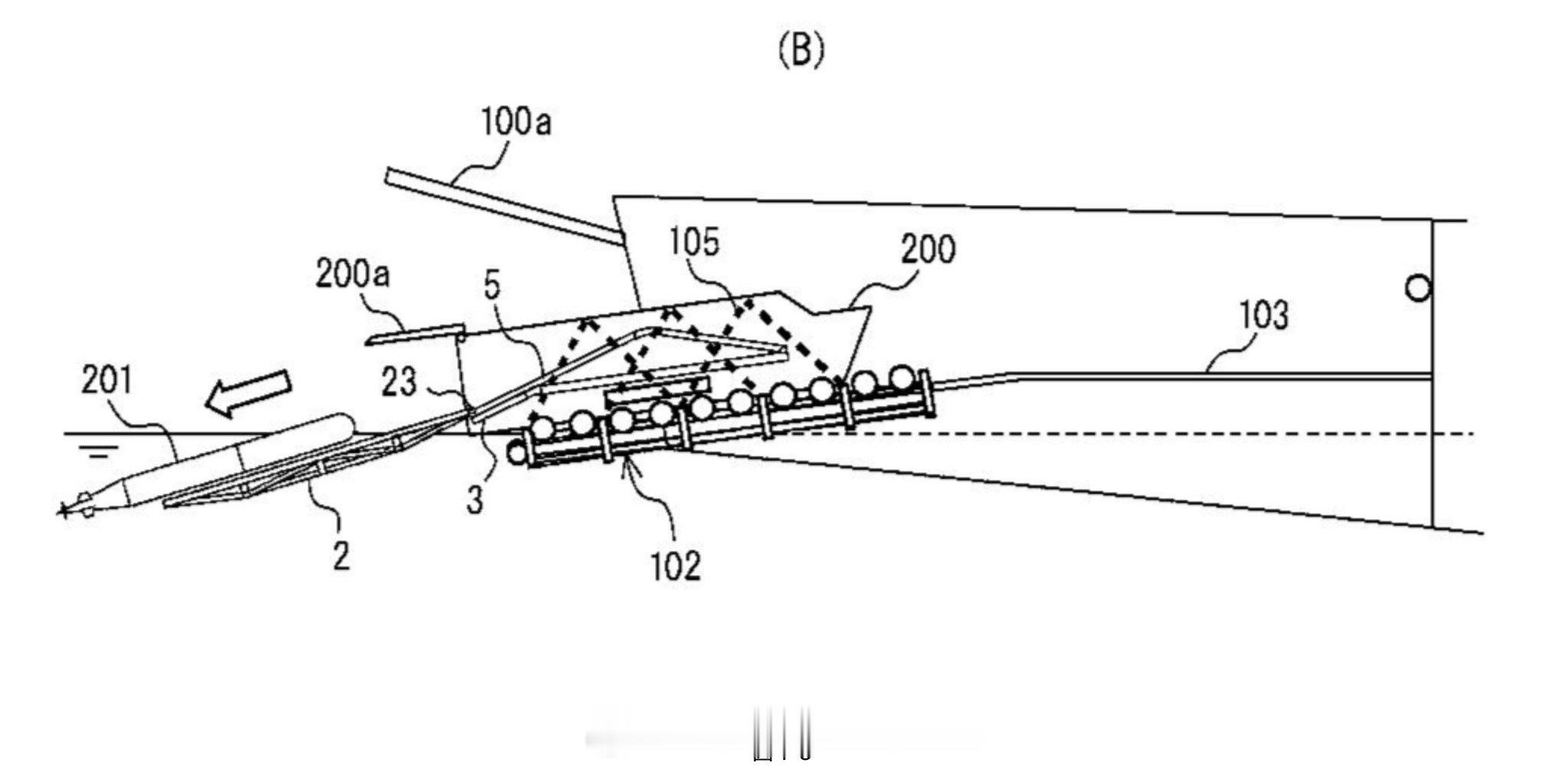
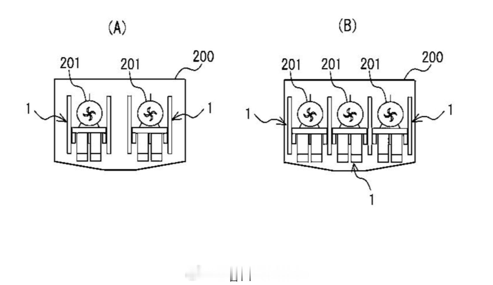
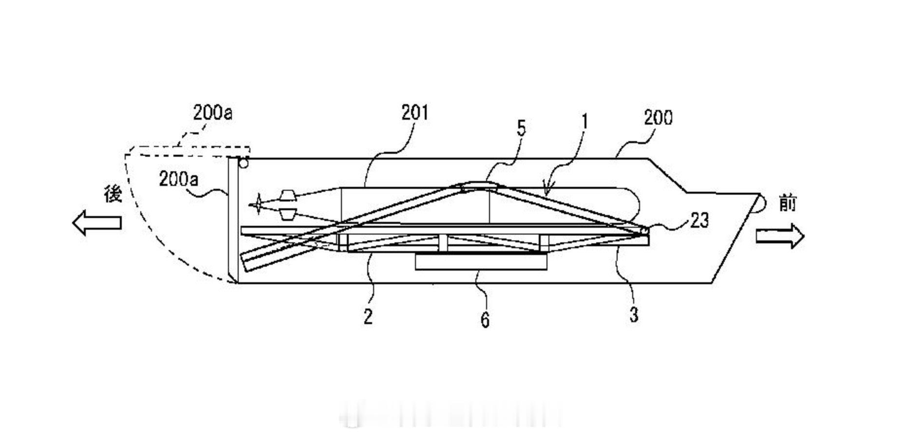
日本海上自卫队今天接收了“水中防衛用小型UUV”推测是一种用于布雷的无人潜航器与东大在九三阅兵上展示的AJX002“无人布雷系统”应属同种装备根据相关专利可知该型无人潜航器应具备替换模块化载荷的能力并可通过“最上”级护卫舰或“樱”级哨戒舰的舰尾坞舱投放中外舰闻每天认识一件兵器烽火问鼎计划









日本海上自卫队今天接收了“水中防衛用小型UUV”推测是一种用于布雷的无人潜航器与东大在九三阅兵上展示的AJX002“无人布雷系统”应属同种装备根据相关专利可知该型无人潜航器应具备替换模块化载荷的能力并可通过“最上”级护卫舰或“樱”级哨戒舰的舰尾坞舱投放中外舰闻每天认识一件兵器烽火问鼎计划








